机电与智能化

带式输送机压陷滚动阻力温度特性试验研究

周利东,韩亮亮,孟文俊,王 雷,曹雪芹,陈向辉

(太原科技大学 机械工程学院,山西 太原 030024)

为研究温度对带式输送机压陷滚动阻力的影响,采用在实验室进行不同温度下压陷滚动阻力试验的方法,并对采集的数据进行数据处理和曲线拟合,得到了不同温度下带式输送机压陷滚动阻力和压陷滚动阻力系数的变化曲线。 试验结果表明:在载荷、带速恒定的情况下,环境温度小于0 ℃时,压陷滚动阻力和压陷滚动阻力系数随温度的升高而增大;环境温度为0~25 ℃时,压陷滚动阻力和压陷滚动阻力系数随温度的升高而减小;环境温度大于25 ℃时,压陷滚动阻力和压陷滚动阻力系数随温度的升高而增大。 其次在温度、载荷恒定时,压陷滚动阻力随带速的增加而增大;在温度与带速恒定时,压陷滚动阻力随载荷的增大而增大。

关键词带式输送机;温度特性;压陷滚动阻力;测试系统

0 引 言

近年来,大运量、长距离、高带速成为带式输送机的发展趋势,为了节约运行成本,减少能耗,有必要对其进行阻力研究[1-3]。 研究表明,压陷滚动阻力占运行阻力的60%以上,是能耗的主要部分,影响压陷滚动阻力主要因素是输送带下覆盖层橡胶化合物的黏弹特性,而黏弹特性受温度影响很大[4-6]。因此,很有必要研究温度变化对压陷滚动阻力的影响。

现阶段,国外学者WHEELER 研究了载荷、带速、温度、压陷度等对橡胶黏弹特性性能的影响,对比分析了2 种化合物覆盖层材料对输送带在不同温度下的压陷滚动阻力[7]。 THOMAS J Rudolphi 等[8]提到了温度对带式输送机压陷滚动阻力的影响,并绘制了一定温度范围内的压陷滚动阻力曲线。 国内文献[9-10]设计了一套能够测试压陷阻力与旋转阻力之和的测试装置,利用该装置研究了带速对压陷阻力与旋转阻力之和的影响;文献[11-12]对带式输送机压陷阻力进行了理论分析,并推导了压陷阻力的近似公式,与此同时运用一种基于傅里叶级数的特殊边界法对输送带建模仿真,通过算例得到了垂直载荷、输送带覆盖层厚度对压陷滚动阻力的影响;文献[13-14]对输送机压陷阻力能耗机理进行了理论研究,推导出了输送带通过托辊时的压陷阻力和压陷阻力系数理论公式,并分析了带速、载荷集度、覆盖层厚度、托辊半径和托辊间距对压陷阻力系数的影响;文献[15]等通过对压陷阻力分析与研究,提出了测量压陷阻力的试验台设计方案;文献[16]根据输送带运行过程中压陷滚动阻力产生的机理和影响因素,设计了低压陷滚动阻力输送带;还有部分学者从理论上研究了温度对压陷滚动阻力的影响[17-19],但是考虑温度的试验研究非常少[20]

为了试验研究温度对压陷滚动阻力的影响,笔者设计制造了一套带有温控房的带式输送机压陷滚动阻力测试系统。 该测试系统可以在给定带速、载荷下实现不同恒温环境下带式输送机压陷滚动阻力的测试。 通过测试,收集数据,进行数据处理分析,得到温度对压陷滚动阻力的影响规律。

1 带式输送机压陷滚动阻力试验系统及工作原理

1.1 试验系统

带式输送机压陷滚动阻力测试系统是由硬件部分和软件部分组成,其硬件部分由驱动系统、测试试验台、信号处理和控制台、温控房组成。

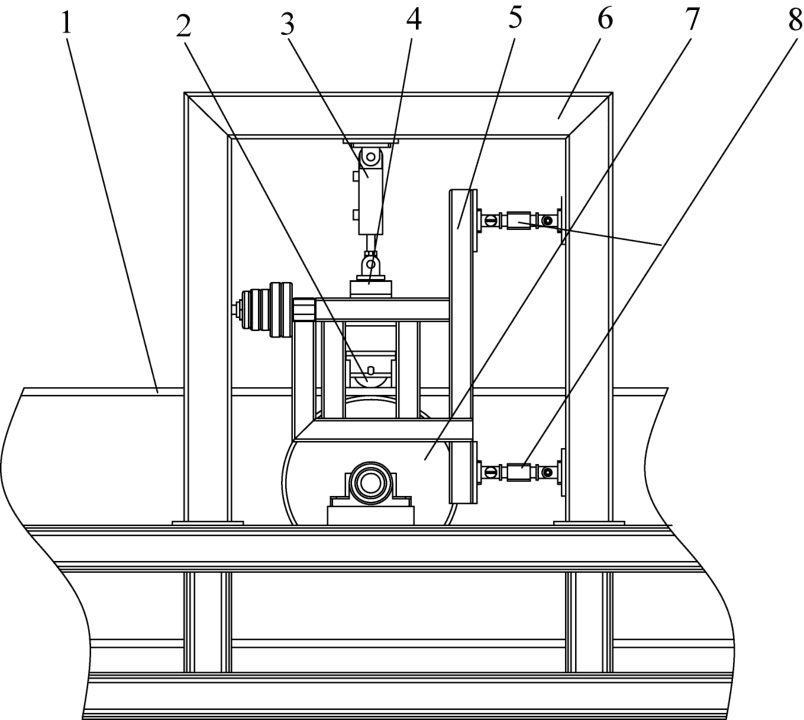
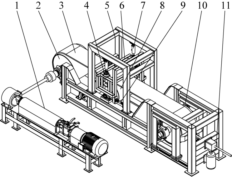
驱动系统由变频电动机、变速器和传动轴组成;测试试验台主要包括机架、加载装置和测试装置、张紧装置,如图1 所示。 机架是整个测试装置的基础。加载装置由加载支架、加载架和液压缸组成。 其中液压缸上端铰接在固定加载支架上,液压缸活塞杆下端铰接在安装有压力传感器的加载架上,在加载架上安装测试托辊。 在加载架和加载支架之间布置3 个阻力传感器,左右对称各1 个,中间安装1 个,测试压陷滚动阻力。 张紧装置由电动机、丝杠和滑轨组成。 输送带的张紧是通过电动机驱动丝杠,带动改向滚筒在滑轨上移动,并在丝杠张紧处安装传感器,测试输送带的张紧力。 信号处理和控制台主要包括工控机、信号处理系统、触摸屏显控和控制按钮等。

图1 带式输送机压陷滚动阻力测试系统平台
Fig.1 Platform of indentation rolling resistance test system for belt conveyor

1—驱动系统;2—驱动滚筒;3—测试输送带;4—压力传感器;5—加载支架;6—加载架;7—液压缸;8—支撑滚筒;9—阻力传感器;10—改向滚筒;11—张紧装置

以上所有硬件部分除了驱动系统、信号处理和控制台外都在一个温控房中。 温控房配置有电加热器和冷压缩机,使用特种材料密封可以使室内室外的热传递较小,达到热平衡,使室内温度在一定时间段内保持恒定,环境温度范围为-25~50 ℃。

在软件部分,借助Microsoft Visual Basic 6.0 软件编写上位机程序,可在Windows 环境下运行。 通过RS485 和RS232 串口,实现了上位机计算机与西门子S7-200 系列PLC 之间的串行通信。 带式输送机压陷滚动阻力测试系统软件运行原理如图2 所示。

1.2 系统加载测试工作原理

系统加载测试工作原理如图3 所示,通过输送带翻转(上覆盖层朝下)安装在驱动滚筒与改向滚筒上。 开启电源,启动液压系统,驱动固定在加载支架上的液压缸向下施加载荷,则位于加载架上的压力传感器反馈当前施加的载荷,测试托辊与下覆盖层接触并产生压陷,当压力达到预定值时,液压缸通过储能器保持压力,缓解输送带接头经过测试托辊时产生冲击的影响;然后启动驱动系统,使驱动滚筒以给定速度运转,通过光电传感器测得带速;此时测试托辊与输送带相对运动,由于橡胶的蠕变迟滞效应,导致输送带与托辊接触区域应力分布不均匀,产生压陷滚动阻力,而反作用力带动托辊加载架作用于加载支架立柱上的阻力传感器,从而间接测得压陷滚动。

图2 带式输送机压陷滚动阻力测试系统软件运行原理
Fig.2 Software operation principle of indentation rolling resistance test system of belt conveyor

图3 带式输送机压陷滚动阻力测试系统加载测试原理
Fig.3 Loading test principle of indentation rolling resistance test system for belt conveyor

1—输送带;2—测试托辊;3—液压缸;4—压力传感器;5—加载架;6—加载支架;7—支撑滚筒;8—阻力传感器

2 试验方案与步骤

2.1 试验方案

针对本次试验,选取织物输送带,带宽为400 mm,输送带上覆盖层厚度为4.5 mm,下伏盖层厚度为1.5 mm;选取温度依次为-15、-10、-5、0、5、10、15、20、25、30、35、40 ℃,载荷为2、3、4 kN/m,带速从低到高依次为1、2、3 m/s 进行试验。 试验方案如下:调节温控开关,使温控房内达到给定测试温度,调节液压装置给输送带施加不同的载荷并保压,然后调节驱动系统得到不同的带速,待系统运行平稳后,测试记录该温度、载荷和带速下压陷滚动阻力及压陷滚动阻力系数。

2.2 试验步骤

1)设定温度为-15 ℃,保温1 h 后,使输送带橡胶的黏弹特性在该温度下得到充分体现。

2)设定载荷2 kN/m,张紧力保证不打滑,带速为1 m/s,待试验系统运行平稳后分别采集载荷、压陷滚动阻力和压陷滚动阻力系数250 个连续数据点,然后依次进行2、3 m/s 的加载测试试验。

3)设定载荷3 kN/m,按照步骤2 进行试验。

4)设定载荷4 kN/m,按照步骤2 进行试验。

5)按照试验方案设定的温度顺序改变温度,按照步骤1、2、3、4 依次进行试验。

试验现场如图4 所示,采集到的数据波形如图5所示。

图4 试验现场
Fig.4 Test site

图5 测试数据波形
Fig.5 Test data waveform diagram

3 试验数据处理与结果分析

3.1 试验数据的处理

在系统运行过程中,存在输送带接头冲击,以及横向和纵向振动,使得载荷、压陷滚动阻力、压陷滚动阻力系数测试结果有一定的波动,导致测试值不是恒定的。 为了提高测试精度,减小误差,需进行测试数据处理。

一次试验测试所得载荷、压陷滚动阻力、压陷滚动阻力系数各250 个数据点,利用MATLAB 软件进行数据处理。

1)第1 次筛选:寻找压陷滚动阻力系数大于1的数据点,把对应的压陷滚动阻力系数、载荷和压陷滚动阻力替换为0,分别求取替换后压陷滚动阻力和压陷滚动阻力系数的平均值,此平均值包含了输送带接头冲击振动产生的大阻力。

2)第2 次筛选:寻找压陷滚动阻力大于第1次筛选所得平均值的数据点,把对应的压陷滚动阻力替换为平均值,压陷滚动阻力系数替换为压陷滚动阻力系数平均值、载荷替换为设定的载荷。

3)第3 次筛选:寻找载荷比设定值波动0.1 kN左右的数据点,再一次对所寻找到的数据点各自求取平均值,作为本次试验压陷滚动阻力和压陷滚动阻力系数的试验测试结果。

3.2 试验结果的分析

本次试验分别在不同的载荷、带速和温度下进行,从而得到了不同的结果。

1)在MATLAB 软件新建的脚本文件中编写的程序,提取出载荷分别为2、3、4 kN/m 对应不同带速,不同温度下的压陷滚动阻力数据,利用最小二乘法,对数据进行拟合,得到温度对压陷滚动阻力影响如图6—图8 所示。

图6 载荷为2 kN/m 不同温度下压陷滚动阻力变化曲线
Fig.6 Variation curves of indentation rolling resistance at different temperatures under load of 2 kN/m

图7 载荷为3 kN/m 不同温度下压陷滚动阻力变化曲线
Fig.7 Variation curves of indentation rolling resistance at different temperatures under load of 3 kN/m

图8 载荷为4 kN/m 不同温度下压陷滚动阻力变化曲线
Fig.8 Variation curves of the indentation rolling resistance at different temperatures under load of 4 kN/m

试验结果表明:在带速和载荷一定时,可以看出温度对压陷滚动阻力的影响是显著的。 压陷滚动阻力在低于0 ℃时,压陷滚动阻力随温度的升高而增大;0~25 ℃时,压陷滚动阻力随温度的升高而减小;在高于25 ℃时,压陷滚动阻力随温度的升高而增大。 这是由于温度改变输送带下伏盖层黏弹性导致的。 在0 ℃以下,随着温度的升高,输送带黏弹性能较好,导致压陷滚动阻力增大;在0 ~25 ℃,随着温度的升高,橡胶由结晶态变为弹性态,链段运动能力增强,可以减少分子链之间摩擦力,从而降低了压陷滚动阻力,这与神华神东集团有限责任公司上湾煤矿原志明[21]的研究结果一致;25 ℃以后,随着温度的升高,输送带橡胶的黏弹性增强,从而增大了压陷滚动阻力。

在温度、载荷一定时,带速越大,压陷滚动阻力也越大,这是由于带速增大,橡胶黏弹性恢复相对较慢,迟滞效应更明显,以至于输送带压力分布更不均匀,导致压陷滚动阻力增大。

2)在MATLAB 软件新建的脚本文件中编写的程序,提取出带速分别为1、2、3 m/s 所对应的不同载荷,不同温度下的压陷滚动阻力数据,利用最小二乘法,对数据进行拟合,得到温度对压陷滚动阻力影响如图9—图11 所示。

图9 带速为1 m/s 不同温度下压陷滚动阻力变化曲线
Fig.9 Variation curves of indentation rolling resistance at different temperatures at belt speed of 1 m/s

图10 带速为2 m/s 不同温度下压陷滚动阻力变化曲线
Fig.10 Variation curves of indentation rolling resistance at different temperatures at belt speed of 2 m/s

图11 带速为3 m/s 不同温度下压陷滚动阻力变化曲线
Fig.11 Variation curves of indentation rolling resistance at different temperatures at belt speed of 3 m/s

试验结果表明:带速一定时,载荷从2 kN/m 增大到4 kN/m 时,总体趋势保持载荷增大,压陷滚动阻力增大。 这是由于载荷增加会增大输送带下覆盖层压陷形变量,从而导致压陷滚动阻力增大。 但所得的3 条曲线中其中某2 条发生了交叉,这是由于温度、载荷、带速等多种综合因素的作用,导致在相同温度下压陷滚动阻力随载荷的增大出现偏高、相等、偏低等情况。 在带速一定时,载荷越大、温度对带式输送机压陷滚动阻力影响越大。

3)在MATLAB 软件新建的脚本文件中编写程序,提取出任意载荷对应不同带速,不同温度的压陷滚动阻力系数数据,以载荷4 kN/m 为例,利用最小二乘法,对数据进行拟合,得到温度对压陷滚动阻力系数影响如图12 所示。

图12 载荷4 kN/m 不同温度下压陷滚动阻力系数变化曲线
Fig.12 Variation curves of indentation rolling resistance coefficient at different temperatures under load of 4 kN/m

试验结果表明:不同的运行环境对压陷滚动阻力系数影响不同。 在同一带速下,随着温度的升高,压陷滚动阻力系数随温度先增大又减小后又增大;这是由于压陷滚动阻力系数与压陷滚动阻力相关,压陷滚动阻力变化趋势影响了压陷滚动阻力系数的变化。 在同一温度下,带速越大,压陷滚动阻力系数越大。

4 结 论

1)压陷滚动阻力和压陷滚动阻力系数的大小除了受到带速和载荷的影响之外,温度对它产生较大影响,在恒定载荷、恒定带速下,在低于0 ℃时,随着温度的升高,压陷滚动阻力和压陷滚动阻力系数逐渐增大;在0~25 ℃时,随着温度的升高,压陷滚动阻力和压陷滚动阻力系数逐渐减小;在高于25 ℃时,随着温度的升高,压陷滚动阻力和压陷滚动阻力系数逐渐增大。

2)通过试验,进一步验证了在温度不变时,压陷滚动阻力随输送机带速、载荷的增大而增大。

3)搭建的专业带式输送机压陷滚动阻力测试系统,设计合理,试验结果能够较好地反映带式输送机压陷滚动阻力温度特性。

4)研究温度对带式输送机压陷滚动阻力的影响,对带式输送机设计制造具有很好的指导意义和参考价值。 在试验方面完善了国内对带式输送机压陷滚动阻力温度特性的研究,这将作为后期理论研究的重要支撑。

参考文献References):

[1] 程雪飞.带式输送机的技术现状及发展趋势[J].中外企业家,2017(17):129.CHENG Xuefei.Technical status and development trend of belt conveyor[J].Chinese and Foreign Entrepreneurs,2017(17):129.

[2] 梁亮东.煤炭运输中长距离大运量带式输送机的探讨[J].机械管理开发,2017,32(8):39-40,43.LIANG Liangdong.Discussion on long distance and large volume belt conveyor in coal transportation[J].Machinery Management and Development,2017,32(8):39-40,43.

[3] 王权明,王兴友,柏 峰,等.带式输送机能耗管理技术及应用[J].煤炭科学技术,2018,46(S2):178-182.WANG Quanming,WANG Xingyou,BAI Feng,et al.Energy man⁃agement technology and application of belt conveyor[J].Coal Sci⁃ence and Technology,2008,46(S2):178-182.

[4] 朱 瑞.带式输送机压陷滚动阻力理论与试验研究[D].太原:太原科技大学,2017:5-6.

[5] 丁永秀.带式输送机的现状与发展趋势[J].河南科技,2013,37(19):83-84.DING Yongxiu.Current situation and development trend of belt conveyor[J].Henan Science and Technology,2013,37(19):83-84.

[6] 卢 岩,刘旭涛,林福严,等.间接测试输送带压陷阻力实验装置的研制[J].煤矿机械,2015,36(9):69-72.LU Yan,LIU Xutao,LIN Fuyan,et al.Research and development of an experimental device for indirectly testing the compressive resist⁃ance of conveyor belt[J].Coal Mine Machinery,2015,36(9):69-72.

[7] JAYNE I O′Shea,CRAIG A Wheeler,PAUL J Munzenberger,et al.The influence of viscoelastic property measurements on the predicted rolling resistance of belt conveyors[J].Journal of Applied Polymer Science,2014,131(18):1-9.

[8] THOMAS J Rudolphi,ALLEN V Reicks.Viscoelastic indentation and resistance to motion of conveyor belts using a generalized max⁃well model of the backing material[J].Rubber Chemistry and Technology,2006,79(2):307-319.

[9] 卢 岩.工况因素对带式输送机压陷阻力影响规律的研究[D].北京:中国矿业大学(北京),2017:15-43.

[10] 卢 岩,林福严,曲天雷,等.带速对带式输送机压陷阻力及旋转阻力影响的研究[J].煤炭工程,2015,47(12):97-99.LU Yan,LIN Fuyan,QU Tianlei,et al.Research on the influence of belt speed on the compressive resistance and rotary resistance of belt conveyor[J].Coal Engineering,2015,47(12):97-99.

[11] 王繁生,侯友夫.带式输送机压陷阻力研究[J].矿山机械,2010,38(17):75-78.WANG Fansheng, HOU Youfu. Research on compressive resistance of belt conveyor[J].Mining Machinery,2010,38(17):75-78.

[12] 王繁生,蒋红旗.带式输送机压陷阻力的边界元分析[J].起重运输机械,2014,53(4):97-100.WANG Fansheng,JIANG Hongqi.Boundary element analysis of compressive resistance of belt conveyor[J].Lifting and Transpor⁃tation Machinery,2014,53(4):97-100.

[13] 毛 君,杨彩红.带式输送机压陷阻力理论研究[J].应用力学学报,2009,26(3):461-466,623.MAO Jun,YANG Caihong.Research on the compressive resistance theory of belt conveyor[J].Journal of Applied Mechanics,2009,26(3):461-466,623.

[14] 王 珏,毛 君.带式输送机平直托辊压陷滚动阻力的能量法研究[J].煤矿机械,2008,28(12):56-57.WANG Jue,MAO Jun.Research on energy method of indentation rolling resistance of flat roller of belt conveyor[J].Coal Mine Ma⁃chinery,2008,28(12):56-57.

[15] 刘生江,许 军,邢海龙.带式输送机压陷阻力与载荷关系试验台的设计[J].煤矿机械,2014,35(11):175-176.LIU Shengjiang,XU Jun,XING Hailong.Design of a test bed for the relationship between compression resistance and load of belt conveyor[J].Coal Mine Machinery,2014,35(11):175-176.

[16] 翟朝甲,梁少华.低滚动阻力输送带的配方设计原则及应用[J].中国橡胶,2016,32(2):45-48.ZHAI Zhaojia,LIANG Shaohua.Formula design principle and ap⁃plication of low - rolling resistance conveyor belt [J]. China Rubber,2016,32(2):45-48.

[17] 朱 瑞,周利东,孟文俊,等.基于蠕变试验的带式输送机压陷滚动阻力温度特性理论研究[J].煤炭技术,2017,36(4):268-271.ZHU Rui,ZHOU Lidong,MENG Wenjun,et al.Research on the indentation rolling resistance temperature characteristics of a belt conveyor based on creep test[J].Coal Technology,2017,36(4):268-271.

[18] 周利东,朱 瑞,孟文俊,等.基于温度效应的带式输送机压陷滚动阻力研究[J].煤炭工程,2016,48(12):95-98.ZHOU Lidong,ZHU Rui,MENG Wenjun,et al.Research on the indentation rolling resistance of belt conveyor based on temperature effect[J].Coal Engineering,2016,48(12):95-98.

[19] 赵晓霞,孟文俊,苏金虎,等.输送带静态压陷深度与动态压陷滚动阻力的研究[J].煤矿安全,2018,49(1):33-135.ZHAO Xiaoxia,MENG Wenjun,SU Jinhu,et al.Research on static depression depth and dynamic rolling resistance of conveyor belt[J].Safety in Coal Mines,2018,49(1):133-135.

[20] 宋兴元.带式输送机压陷阻力理论及测试方法研究现状[C]/ /低碳智能 持续创新——煤矿机电一体化新技术2014年学术年会论文集.北京:中国煤炭学会,2014:4.

[21] 原志明.长距离芳纶输送带在煤矿井下的应用研究[J].中国橡胶,2017,33(24):41-44.YUAN Zhiming.Research on the application of long-distance arene fiber conveyor belt in underground coal mine[J].China Rubber,2017,33(24):41-44.

Experimental study on temperature characteristics of indentation rolling resistance of belt conveyor

ZHOU Lidong,HAN Liangliang,MENG Wenjun,WANG Lei,CAO Xueqin,CHEN Xianghui
(School of Mechanical Engineering,Taiyuan University of Science and Technology,Taiyuan 030024,China)

AbstractIn order to study the influence of temperature on the indentation rolling resistance of the belt conveyor, the method of rolling re⁃sistance test at different temperatures in the laboratory was carried out, and the data collected were processed and fitted with curves,and the curves of indentation rolling resistance and indentation rolling resistance coefficient of the belt conveyor at different temperatures were obtained.The test results show that under the condition of constant load and belt speed, when the ambient temperature is less than 0 ℃,the indentation rolling resistance and indentation rolling resistance coefficient increases with the rise of temperature; when the ambient temperature is within the range of 0 ℃to 25 ℃, the indentation rolling resistance and indentation rolling resistance coefficient decreases with the increase of temperature; When the ambient temperature is greater than 25 ℃, the indentation rolling resistance and indentation rolling resistance coefficient increases with the rise of temperature. Secondly, when the temperature and load are constant, the indentation rolling resistance increases with the increase of the belt speed; when the temperature and the belt speed are constant, the indentation roll⁃ing resistance increases with the increase of load.

Key wordsbelt conveyor;temperature characteristicistics; indentation rolling resistance; test system

中图分类号TD52

文献标志码:A

文章编号:0253-2336(2021)03-0123-06

移动扫码阅读

周利东,韩亮亮,孟文俊,等.带式输送机压陷滚动阻力温度特性试验研究[J].煤炭科学技术,2021,49(3):123-128.

doi:10.13199/j.cnki.cst.2021.03.016

ZHOU Lidong,HAN Liangliang,MENG Wenjun,et al.Experimental study on temperature characteristics of indenta⁃tion rolling resistance of belt conveyor[J].Coal Science and Technology,2021,49(3):123-128.

doi:10.13199/j.cnki.cst.2021.03.016

收稿日期2020-07-02;责任编辑:赵 瑞

基金项目山西自然科学基金资助项目(201601D102036);山西省重点研发计划重点资助项目(201703D111006)

作者简介周利东(1979—),男,山西大同人,讲师,博士。 E-mail:zhoulid2005@sina.com