高级检索

高精度三维地质建模新方法与关键技术研究

Research on key technologies and new method of high precision 3D geological modeling

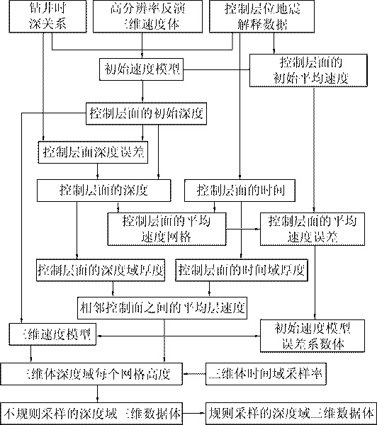
  • 摘要: 为了充分利用三维地震勘探数据蕴含的有关地下岩性、物性和流体的空间分布信息、进一步提高三维地质模型精度、改善油藏数值模拟效果,探讨了提高叠前地震道集质量、改善井震匹配关系及多学科一体化研究的新方法。通过不同偏移距地震道的频谱均衡对地层吸收作用和动较拉伸效应造成的远偏移距地震数据波形畸变现象进行了校正;通过构建高精度的三维数据体时深转换速度模型提高了地震数据体在深度域与测井曲线深度的一致性;并采用岩石物理、地震反演、地质建模和油气藏数值模拟多学科一体化的研究方法对多学科研究进行循环反馈,不断优化三维地质模型的准确性、提升油藏模拟吻合度。研究结果表明:针对不同偏移距地震道的频谱均衡技术的应用消除了远偏移距地震波形畸变现象,使地震波能量集中到有效频带范围内;将地质统计学反演的高分辨率速度体与层间网格自动剖分技术相结合建立的三维时深转换新方法保障了深度域的三维地震数据体与测井曲线的精细匹配,时深转换后的深度域地震反演数据体与测井曲线在深度和数值两方面一致性都很好;同时基于新建地质模型得到的数值模拟数据与实际生产数据吻合度高、生产历史拟合效果好,重新计算的地质储量与动态储量的差异大大缩小,解决了某气田长期存在的三维地质模型精度不高、动静储量差异大等难题。

     

    Abstract: In order to make full use of spatial distribution information of underground lithology, properties and fluids in 3D seismic exploration data, to further improve the accuracy of 3D geological model and improve the numerical simulation effect of reservoirs, the quality of pre-stack seismic gathers and the improvement of well-seismic matching were discussed. Through the spectral equalization of different offset seismic traces, the distortion of the seismic data was corrected by the absorption of the formation by NMD the tensile effect. The consistency of seismic data in depth domain with logging curve has been improved by constructing high-precision 3D velocity model for time-depth conversion. The multi-disciplinary integrated methods of petro physics, seismic inversion, geological modeling and reservoir numerical simulation were used for cyclic feedback to optimize the accuracy of 3D geological model and to improve reservoir production history fitting. The results show that the application of spectrum equalization technique for different offset seismic traces eliminates the distortion of the long-distance seismic waveform, so that the seismic wave energy is concentrated in the effective frequency range. The new method of 3D time-depth conversion was established by combining the high-resolution velocity cube from geo-statistical inversion with the automatic meshing technique of interlayer ensures the fine matching of 3D seismic data and well logging curve in depth domain. And the deep-field seismic inversion data after time-depth conversion,the well logging curve is consistent in both depth and value.At the same time, the numerical simulation data obtained from the new geological model are highly consistent with the actual production data, and the production history is well fitted.The difference between the recalculated geological reserves and the dynamic reserves is greatly reduced. The method solved the problems of lower accuracy geological modeling and large difference between dynamic with static reserves that has long existed in gas field.

     

/

返回文章
返回