高级检索

弛张筛浮动筛框与主动筛框合理质量比的研究

Research on reasonable mass ratio of floating flip-flow screen frame and main screen frame

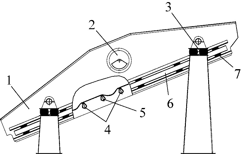
  • 摘要: 为了丰富国内弛张筛关键结构部件的设计参考依据,对弛张筛浮动筛框与主动筛框的质量比进行了研究。建立了弛张筛有阻尼的力学模型,绘制了主、浮筛框幅频特性曲线,分析了质量比对弛张筛振幅稳定性的影响,设计并制作了一台半工业性弛张筛,进行了试验验证。结果表明:剪切弹簧刚度不变时,质量比增加,主、浮筛框的幅频特性曲线左移,主、浮筛框振幅降低;弛张筛加入物料后,振动系统的二阶共振频率会发生漂移,应选择合适的质量比,使其漂移幅度10%以内;在设计条件能满足的前提下,应增加质量比,以减少物料质量对弛张筛振幅的影响,为弛张筛的合理设计提供参考依据。

     

    Abstract: In order to enrich the reference for the design of key structural components of flip-flow screen, the mass ratio of the floating flip-flow screen frame to the main screen frame is studied. The mechanical model of flip-flow screen considering the effect of damping is established, the amplitude-frequency characteristic curves of the main and floating screen frames are plotted, and the influence of the mass ratio on the amplitude stability of flip-flow screenis is analyzed.Then, a pilot scale flip-flow screen is devised and manufactured. Its performance is verified by experiments. The results show that in the case of constant shear spring stiffness, the increase in the mass ratio leads to a left shift of the amplitude-frequency characteristic curves of the main and floating screen frames, and a decrease in the amplitudes of the main and floating screen frames.Moreover, adding material to the flip-flow screen results in a drift of the second-order resonance frequency of the vibration system.It is shown that an appropriate mass ratio should be selected to limit the magnitude of the drift within 10%. The present study suggests that the mass ratio is increased to reduce effect for mass of added material on amplitude of flip-flow screen,provided that the design conditions can be satisfied.This study provide reference for the reasonable design of flip-flow screen.

     

/

返回文章
返回