高级检索

煤矿井下应急救援超前侦测发射装置设计研究

Design and research of advanced detection launching device forunderground coal mine emergency rescue

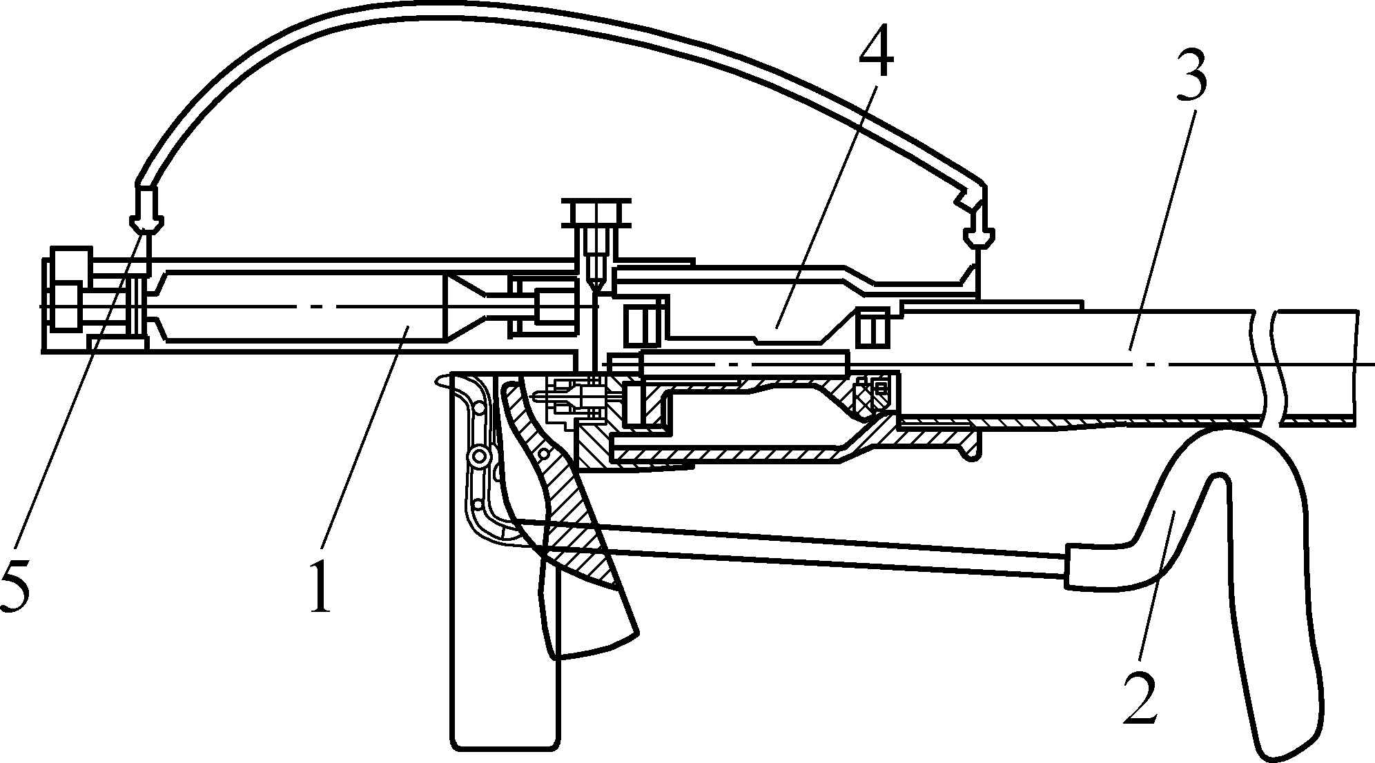
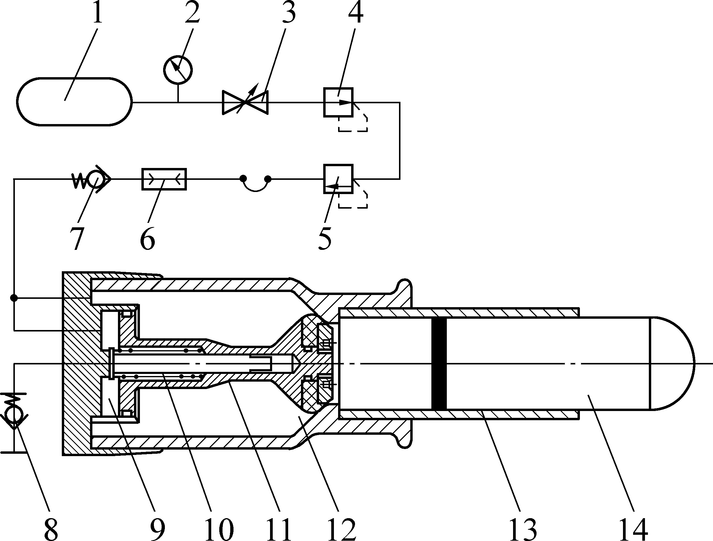
  • 摘要: 为了在煤矿井下灾区救援过程中将环境侦测探头发射至救援队员前方50~100 m处,进而实现对灾区环境的超前侦测,避免救援过程中次生灾害发生,保障救援人员的生命安全,基于气动原理设计了一种煤矿井下超前侦测发射装置,分别通过对该装置的发射过程及发射后探头飞行过程进行数学建模并求解,获取发射压力、发射角度与后坐力、出膛速度及发射距离的关系;依据发射瞬间及飞行过程关键参数,研究分析了发射装置在煤矿巷道受限空间的发射策略,并进行巷道实际发射试验。试验结果表明:煤矿井下超前侦测发射装置的理论设计及计算正确合理,发射距离大于50 m满足设计要求;并得出巷道受限空间的最佳发射策略是3~4 MPa的压力下于巷道中线处采用半蹲水平方式发射。

     

    Abstract: In order to launch the environmental detection probe to 50~100 m in front of the rescue team in the rescue process of the underground coal mine disaster area, to have an early detection of the disaster area environment, to avoid secondary disasters during the rescue process and to ensure the safety of rescue workers, the early detection launching device is designed based on pneumatic principle. By mathematically modeling and calculating the data about the launching process of the device and the flight process of the probe after launching, the relationship between the launching pressure, the launching angle and the recoil, the exiting speed and the launching distance are obtained. Based on key parameters of launching moment and flight process, launching strategy of launching device in confined space of coal mine roadway is studied and analyzed, and actual launching test of roadway is carried out. The test results show that the theoretical design and calculation of the early coal mine detection launching device are correct and reasonable, and launching distance of over 50 m can meet the design requirements.It is concluded that the optimal launching strategy for restricted space of roadway is to launch it horizontally at the mid-line of roadway under pressure of 3~4 MPa in posture of semi-crouching.

     

/

返回文章
返回