高级检索

超大直径钻孔采空区瓦斯抽采技术研究

Super large diameter borehole gob gas extraction technology

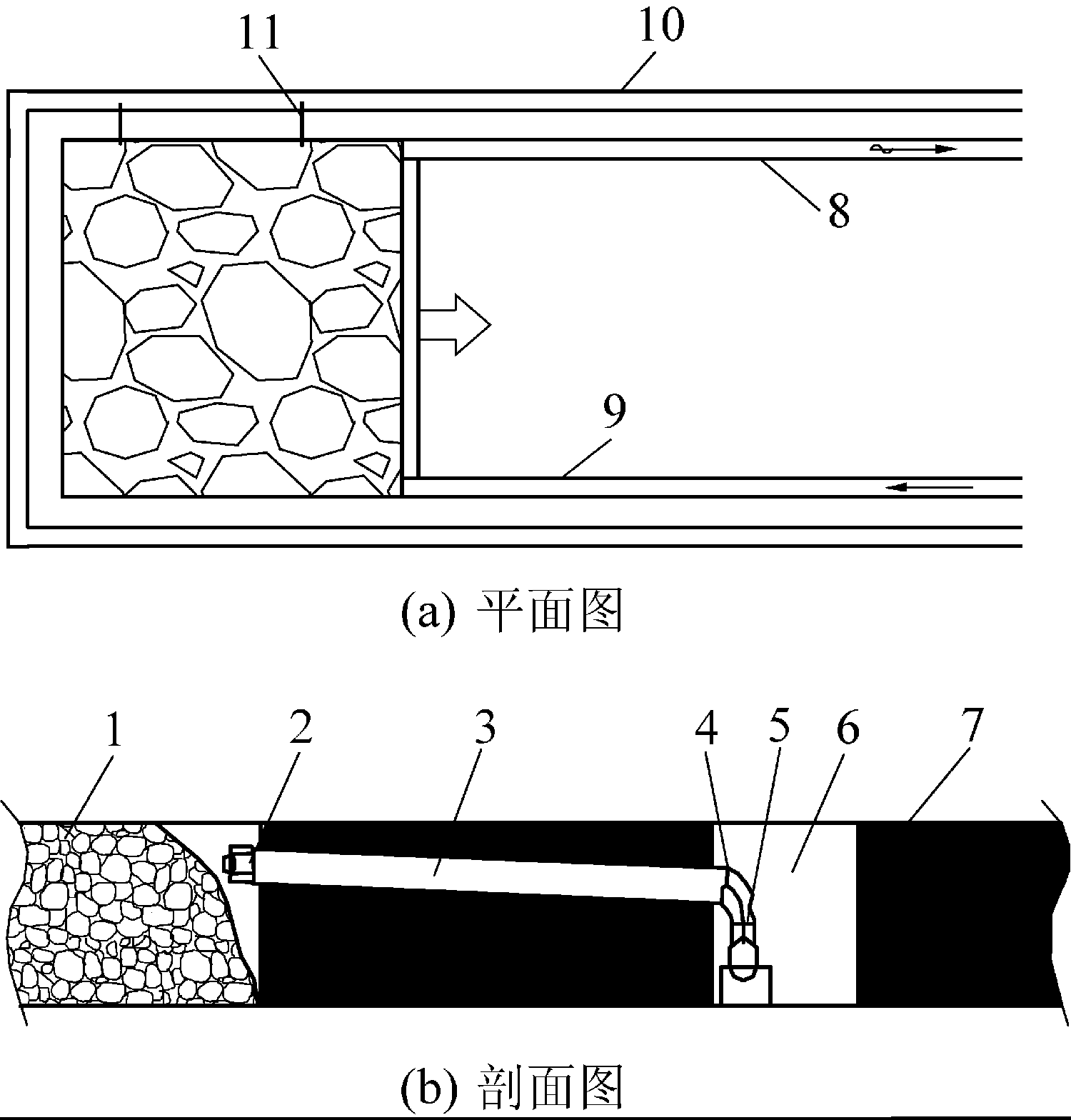
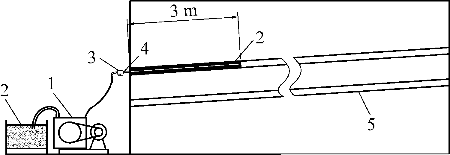
  • 摘要: 为了降低U型通风采煤工作面上隅角瓦斯浓度,弥补高抽巷层位布置不合理造成的抽采量的不足,节省前期采用Y型通风进行沿空留巷的施工成本,提出了超大直径钻孔(550 mm)采空区瓦斯抽采技术。基于理论分析和现场分析试验,发现超大直径钻孔间距定为15 m或者20 m时抽采效果较为理想。现场应用实践表明:大直径钻孔抽采采空区瓦斯与普通采空区埋管抽采相比,抽采纯量提高了54.9%,抽采瓦斯体积分数提高了1.33倍。和沿空留巷“偏Y型通风”治理瓦斯相比,可使得回风流中的平均瓦斯体积分数降低12.7%,大幅节省了人员的投入。U型通风采煤工作面上隅角的瓦斯浓度得到有效控制,有效取代了上隅角埋管和沿空留巷,大幅提高了煤矿的生产效益。

     

    Abstract: This paper proposes a gas extraction technology - super large diameter borehole gob gas extraction technology. The technology is devoted to reduce gas concentration of working face upper corner in U-shaped ventilation, solve the problem of extraction deficiency caused by the unreasonable high-level drainage roadway layout, and reduce the construction cost of using Y-type ventilation gob side entry retaining in the early stage. Based on theoretical analysis and field tests, it is concluded that the extraction is most efficient when the spacing of boreholes is 15 m or 20 m.Field application shows that, compared to conventional gas extraction, the pure quantity of gob gas extraction in the large-diameter extraction increases by 54.9% and the extraction concentration increases by 1.33 times. The technology is also superior to Y-type ventilation gob side entry retaining, which is evidenced by 12.7% reduction of average gas concentration in return air flow,and reduction of labor requirement. Applying this gas extraction technology, gas concentration of upper corner of U-shaped ventilation can be effectively controlled and buried pipe on upper corner and gob side entry retaining can be removed, which greatly improves the mining productivity.

     

/

返回文章
返回